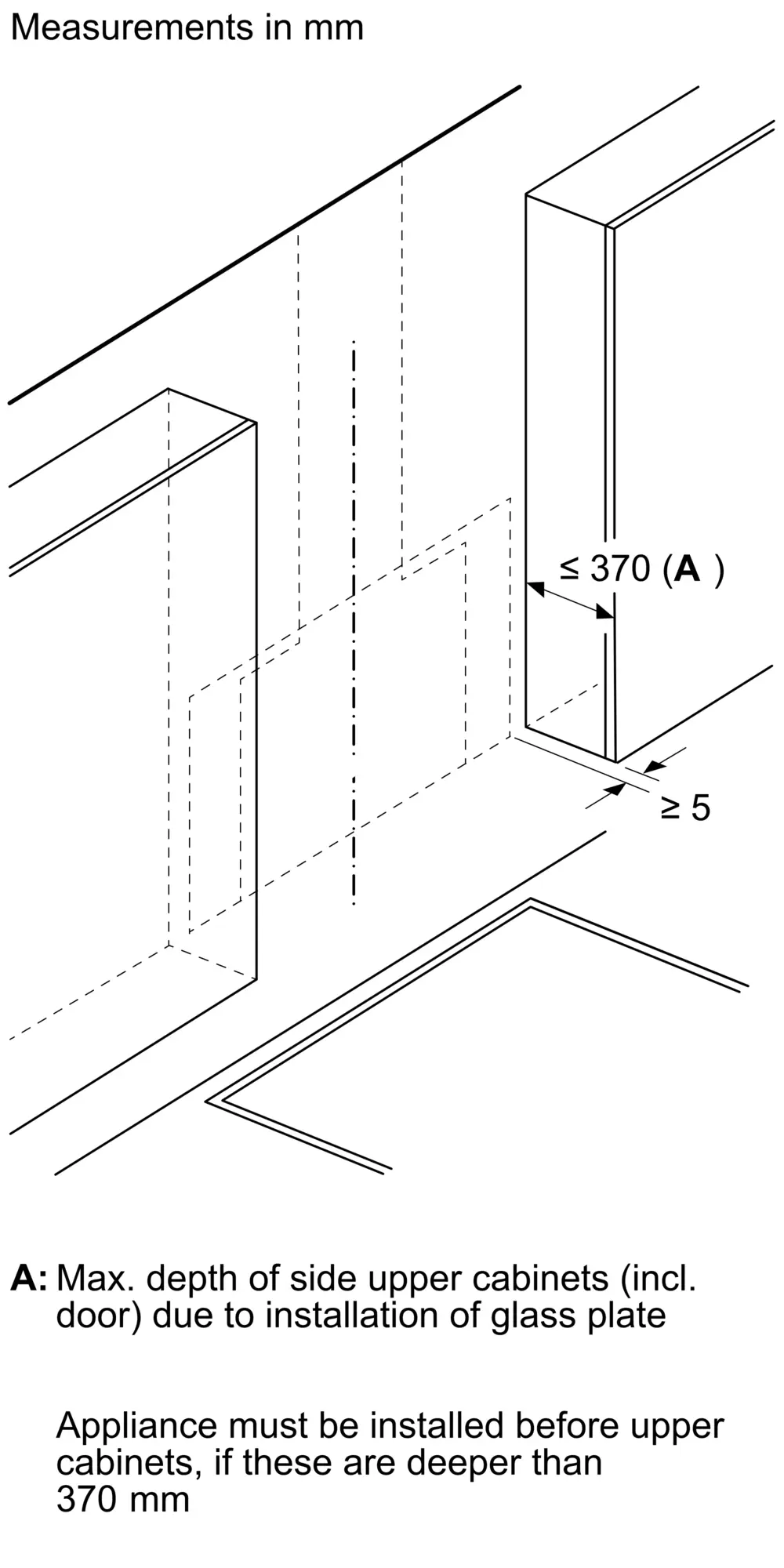
Series 8 Wall-mounted cooker hood 90 cm , BlackDWK91LT60
DWK91LT60
1 / 0














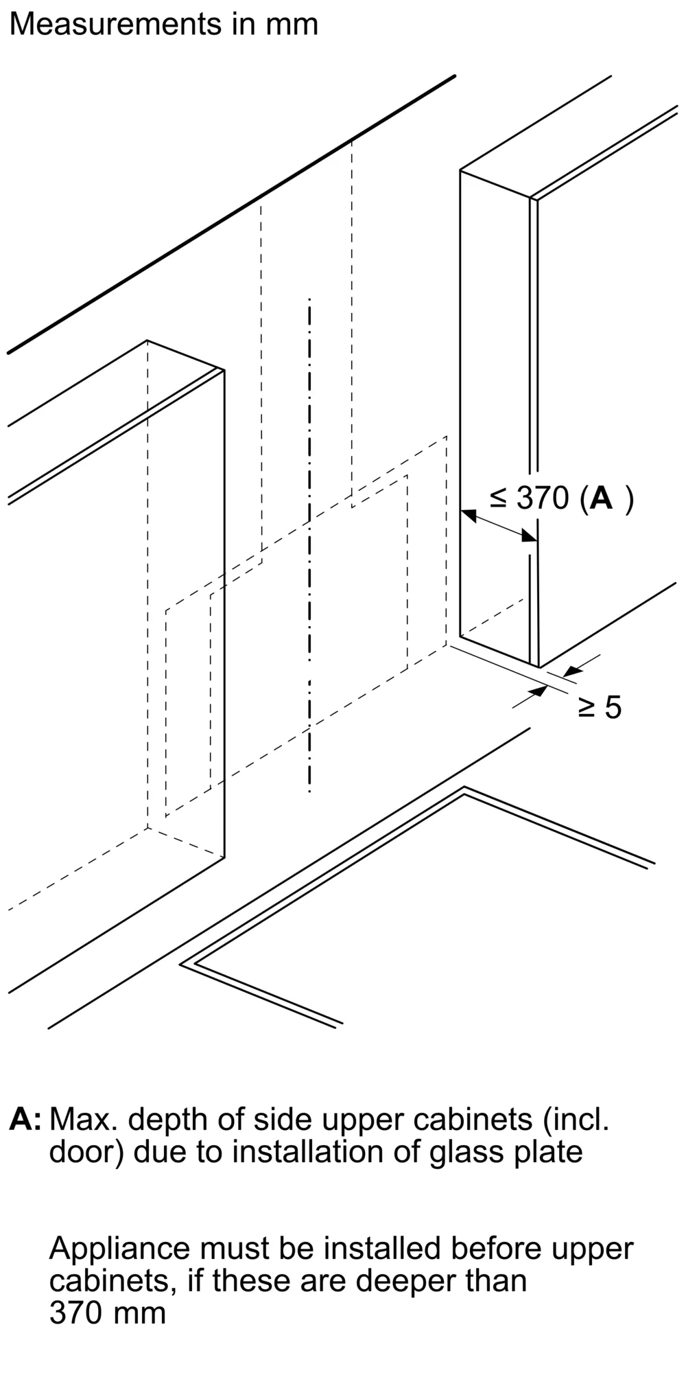
Series 8 Wall-mounted cooker hood 90 cm , BlackDWK91LT60
DWK91LT60
Compare
Series 8 Wall-mounted cooker hood 90 cm , BlackDWK91LT60
DWK91LT60
Compare
Technical Overview
Sound power at max. speed (2010/30/EC)
51 dB
Max. air extraction
441 m³/h
Boost position air extraction
1007 m³/h
Colour
Black
Material body
Glass, Lacquered
Built-in / Free-standing
Built-in
Width
90 cm